نظام الملاحة المتكامل عالي الدقة I6700 MEMS INS/GNSS، هوائي مزدوج RTK، خرج 200 هرتز، 9-36 فولت، ≤4 واط
يُعد نظام الملاحة المتكامل بتقنية MEMS من سلسلة I6700 نظامًا عالي الدقة والموثوقية وفعال من حيث التكلفة نظام الملاحة بالقصور الذاتي المتكامل بتقنية MEMSوالتي يمكن استخدامها على نطاق واسع في مجالات الملاحة والتحكم والقياس التي تمثلها المركبات والسفن والطائرات بدون طيار.
يدمج نظام الملاحة المتكامل من سلسلة I6700 جيروسكوبات MEMS عالية الأداء، ومقاييس تسارع MEMS، ورقائق استقبال الأقمار الصناعية GNSS. ومن خلال استشعار معدل دوران الأرض الزاوي وتسارعها، يحقق النظام اتجاهًا دقيقًا لحركة المركبة الحالية عبر المحاذاة الذاتية الثابتة، ويتكامل مع السرعة والموقع والاتجاه ثلاثي الأبعاد المُستمدة من مستقبل GNSS عبر الأقمار الصناعية لتوفير ملاحة متكاملة. كما يُجري نظام الملاحة المتكامل تعويضًا لانحراف درجة الحرارة عن الانحياز الصفري وتعويضًا لنطاق درجة الحرارة الكامل على وحدة IMU الداخلية لضمان موثوقية المنتج.
يُوفر المنتج أوضاع تهيئة متنوعة لتناسب مختلف أنواع ناقلات البيانات، مثل الناقلات الجوية والمركبات والسفن. وتساعد أوضاع السيناريوهات المناسبة على ضمان دقة قياس وضعية الناقلة على المدى الطويل.
رقم القطعة، :
I6700الطلب (الحد الأدنى للكمية) :
1سلسلة المنتجات والمعايير
| المعلمة | المؤشرات الفنية | ||
| I6700-A | I6700-B | I6700-C | |
| جيروسكوب | |||
| المدى (°/ثانية) | ±200 | ±400 | ±300 |
| انحياز صفري عند درجة الحرارة الكاملة (°/ساعة، 3σ) | ≤0.3 | ≤2 | ≤80 |
| استقرار الانحياز الصفري (°/ساعة، 10 ثوانٍ) | ≤0.1 | ≤0.5 | ≤3 |
| عدم استقرار الانحياز الصفري (°/ساعة، ألان، نموذجي) | ≤0.02 | ≤0.05 | ≤0.5 |
| قابلية التكرار بدون انحياز (°/ساعة) | ≤0.1 | ≤0.3 | ≤3 |
| المشي العشوائي الزاوي (°/√h) | ≤0.01 | ≤0.02 | ≤0.025 |
| اللاخطية في عامل المقياس (جزء في المليون) | ≤100 | ≤100 | ≤100 |
| اقتران محوري متقاطع (راديان) | ≤0.001 | ≤0.001 | ≤0.001 |
| عرض النطاق الترددي (هرتز) | ≥50 | ≥200 | ≥200 |
| مقياس التسارع | |||
| المدى (غ) | ±10 | ±30 | ±20 |
| انحياز صفري عند درجة الحرارة الكاملة (mg, 3σ) | ≤0.5 | ≤2 | ≤2 |
| استقرار الانحياز الصفري (ميكروغرام، 10 ثوانٍ) | ≤20 | ≤50 | ≤50 |
| عدم استقرار الانحياز الصفري (ميكروغرام، ألان، نموذجي) | ≤10 | ≤30 | ≤30 |
| تكرار التحيز الصفري (ug) | ≤20 | ≤50 | ≤60 |
| المشي العشوائي بالسرعة (م/ث/√س) | ≤0.02 | ≤0.03 | ≤0.04 |
| اللاخطية في عامل المقياس (جزء في المليون، ±1 غرام) | ≤100 | ≤100 | ≤100 |
| اقتران محوري متقاطع (راديان) | ≤0.001 | ≤0.001 | ≤0.001 |
| عرض النطاق الترددي (هرتز) | ≥50 | ≥200 هرتز | ≥200 |
| دقة الملاحة | |||
| تحديد دقة البحث عن الشمال (°، 1σ) | ≤0.5 | ≤3 | / |
| دقة القصور الذاتي البحتة بعد فقدان القفل (1σ، 60 ثانية، مع تجاهل الخطأ الأولي) | ≤3 دقائق/60 ثانية | ≤5 دقائق / 60 ثانية | ≤10 م/60 ثانية |
| دقة قياس الارتفاع | ≤5 سم | ≤5 سم | ≤5 سم |
| الوضع الأفقي المركب (م، 1σ) | ≤2 (نقطة واحدة) | ≤2 (نقطة واحدة) | ≤2 (نقطة واحدة) |
| ≤0.02+1 جزء في المليون (RTK) | ≤0.02+1 جزء في المليون (RTK) | ≤0.02+1 جزء في المليون (RTK) | |
| الموقع السماوي المشترك (م، 1σ) | ≤3 (نقطة واحدة)، | ≤3 (نقطة واحدة)، | ≤3 (نقطة واحدة)، |
| ≤0.03+1 جزء في المليون (RTK) | ≤0.03+1 جزء في المليون (RTK) | ≤0.03+1 جزء في المليون (RTK) | |
| السرعة الأفقية المركبة (م/ث، 1σ) | ≤0.05 | ≤0.05 | ≤0.05 |
| السرعة السماوية المجمعة (م/ث، 1σ) | ≤0.1 | ≤0.1 | ≤0.1 |
| اتجاه مُدمج (°، 1σ، في الوقت الحقيقي) | ≤0.1 (هوائي مزدوج بخط أساس 2 متر) | ≤0.1 (هوائي مزدوج بخط أساس 2 متر) | ≤0.1 (هوائي مزدوج بخط أساس 2 متر) |
| ≤0.15 (نقطة واحدة، ديناميكية) | ≤0.15 (نقطة واحدة، ديناميكية) | ≤0.2 (نقطة واحدة، ديناميكية) | |
| ≤0.05 (RTK، ديناميكي) | ≤0.05 (RTK، ديناميكي) | ≤0.1 (RTK، ديناميكي) | |
| ≤0.03 (بعد المعالجة) | ≤0.03 (بعد المعالجة) | ≤0.05 (بعد المعالجة) | |
| الوضع الأفقي المدمج (°، 1σ، في الوقت الحقيقي) | ≤0.015 (نقطة واحدة، ديناميكية) | ≤0.015 (نقطة واحدة، ديناميكية) | ≤0.05 (نقطة واحدة، ديناميكية) |
| ≤0.01 (RTK، ديناميكي) | ≤0.01 (RTK، ديناميكي) | ≤0.03 (RTK، ديناميكي) | |
| ≤0.007 (بعد المعالجة) | ≤0.007 (بعد المعالجة) | ≤0.01 (بعد المعالجة) | |
| الخصائص الفيزيائية | |||
| مصدر الطاقة (فولت) | 9~36 | ||
| القدرة في حالة الاستقرار (واط) | ≤4 | ||
| وقت بدء التشغيل (ثوانٍ) | ≤2 | ||
| معدل نقل البيانات (هرتز، الحد الأقصى) | 200 | ||
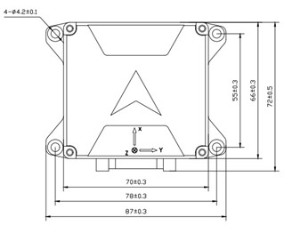
| الحجم (مم × مم × مم) | 87×72×56 | ||
| الوزن (غرام) | 370±20 | ||
| بيئة التشغيل | |||
| درجة حرارة التشغيل (درجة مئوية) | -40 إلى +80 | ||
| درجة حرارة التخزين (درجة مئوية) | -55 إلى +85 | ||
| الاهتزاز (g، RMS) | 20~2000 هرتز، 6.06 | ||
| صدمة (g) | 500 غرام/1 مللي ثانية | ||
عملية الإنتاج
أبعاد المنتج


سيناريوهات التطبيق



التعليمات
Xml سياسة الخصوصية مدونة خريطة الموقع
حقوق الطبع والنشر @ شركة مايكرو ماجيك جميع الحقوق محفوظة.
الشبكة المدعومة