يستخدم جهاز NF3700 لقياس السرعة الزاوية النسبية، وإشارة التسارع الخطي، وسرعة الحامل في الفضاء العطالي، بالإضافة إلى إشارة الارتفاع والموقع والاتجاه.
ينطبق هذا الدليل على الاستخدام اليومي وصيانة جهاز تحديد الاتجاه NF3700.
رقم القطعة، :
NF3700الطلب (الحد الأدنى للكمية) :
1سلسلة المنتجات والمعايير
| NF3700-A | NF3700-B | |
| دقة البحث | ≤±0.3°RMS | ≤±0.5°RMS |
| دقة السمت | 0.01 درجة | |
| التكرار | ≤±0.2° | |
| حان وقت البحث عن الشمال | ≤5 دقائق | |
| معدل التحديث | 100 هرتز | |
| وضع التشغيل | الحالة الساكنة | |
| جهد مصدر الطاقة | 24 فولت (9~36 فولت تيار مستمر) | |
| استهلاك الطاقة | ≤15 واط (ذروة ≤20 واط) | |
| وزن | ≤1500 غرام | |
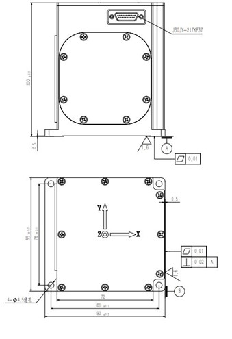
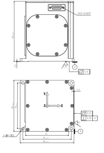
| موصل | J30JY-21ZKP37 | |
| درجة حرارة التشغيل | -20 درجة مئوية ~ +60 درجة مئوية | |
| درجة حرارة التخزين | -40 درجة مئوية ~ +65 درجة مئوية | |
| نمط الإخراج | RS422 | |
| صادم | 10-20 غرام 11 مللي ثانية | |
| معالجة السطح | الأنودة السوداء | |
| مستويات الحماية | IP65 | |
عملية الإنتاج
أبعاد المنتج

الشكل 1: مخطط المنتج
سيناريوهات التطبيق



التعليمات
Xml سياسة الخصوصية مدونة خريطة الموقع
حقوق الطبع والنشر @ شركة مايكرو ماجيك جميع الحقوق محفوظة.
الشبكة المدعومة